Elektronik Patent aus 1950: Ein frühes Navigationsgerät
In heutigen Automobilen sind Navigationsgeräte Standard. Basierend auf einer militärischen Anwendung „NavSTAR GPS“ ging es 1995 offiziell in Betrieb – die Idee ist aber schon einige Jahre älter.
Anbieter zum Thema

In Automobilen gehören Navigationsgeräte heute meist zur Standardausstattung. Ihren Ursprung haben die Geräte in dem für das US-Amerikanische Militär entwickelten „NavSTAR GPS“ (Global Positioning System), das 1995 offiziell in Betrieb genommen wurde – und das heute nahezu uneingeschränkt in zivilen Anwendungen genutzt wird. Es findet sich in Smartphones, Autonavigationsgeräten und zahlreichen anderen mobilen Geräten.
Dabei ist die Idee einer Zielführung durch technische Hilfsmittel nicht neu: Bereits in den 50er Jahren wurde vielfach in Deutschland an dieser Idee geforscht. So auch bei der Firma Preh im unterfränkischen Bad Neustadt an der Saale. Damals wollten Preh-Ingenieure die Streckenfindung vor allem bei Nachtfahrten erleichtern. Und so lässt ein Patent vom 9. November 1950 staunen: Mittels einer Art Mikrofilmprojektor sollten Landkarten für den Fahrer auf einen Bildschirm in der Mittelkonsole projiziert werden.

Patenttitel: Ortsanzeiger
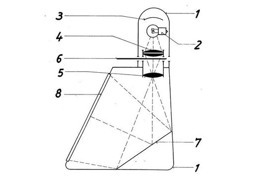
Der Patentanmeldungstitel: „Einrichtung zum Anzeigen von Fahrstrecken bei Kraftfahrzeugen“. Es geht um einen „Ortsanzeiger“, wie es damals heißt, der besonders auch für Fahrten bei Nacht geeignet ist. Im Wortlaut: „Karten-Mikrodiapositive (Mikrofilme) werden mittels einer Projektionseinrichtung auf einem im Blickfeld des Fahrers angeordneten Bildschirm zur Abbildung gebracht. Ein Umlenkspiegel im Strahlengang gestattet es, den Bildschirm zum Beispiel im Armaturenbrett einzulassen, die Projektionseinrichtung oberhalb oder unterhalb davon.“
Der Bildschirm hat eine Baulänge von etwa 60 Zentimetern und ist damit größer als der Touchscreen im heutigen Tesla Modell S, der nicht ganz 50 Zentimeter lang ist. In dieser Größe kann der Fahrer die Landkarte gut lesen, die ein Objektiv von hinten auf den Bildschirm wirft.
Preh produziert Navigationsgeräte seit 2016
Dass diese Preh-Innovation bereits aus dem Jahr 1950 stammt überrascht. Denn in heutigen Cockpits ist die Vision Wirklichkeit geworden. Keiner mag mehr missen, was damalige Preh-Ingenieure als Idee im Kopf und als Innovation Schwarz auf Weiß im Patent hatten: Ein Navigationsgerät, das über einen großen Bildschirm im Blickfeld des Fahrers sicher und zuverlässig den Weg weist.

Navigationsgeräte stellt die Preh-Gruppe allerdings erst seit 2016 her – nach der Übernahme der ehemaligen Technisat Automotive im Jahre 2016, die heute unter dem Namen Preh Car Connect firmiert. Das Unternehmen entwickelt und produziert aktuell nicht nur Navigationsgeräte sondern entwickelt unter anderem auch Connectivity-Lösungen für die Kommunikation zwischen Fahrzeugen (Vehicle-to-Vehicle) und von Fahrzeugen zu Verkehrseinrichtungen, wie Ampeln oder Verkehrsschildern (Vehicle-to-X).
(ID:45927119)